R.R.O. 1990, Reg. 346: GENERAL - AIR POLLUTION, Environmental Protection Act, R.S.O. 1990, c. E.19
Environmental Protection Act
Loi sur la protection de l’environnement
R.R.O. 1990, REGULATION 346
Amended to O. Reg. 419/05
GENERAL — AIR POLLUTION
Note: This Regulation was revoked on November 30, 2005. See: O. Reg. 419/05, ss. 40, 41.
This Regulation is made in English only.
Definitions
1. In this Regulation,
“air pollution episode” means an occasion when air contamination is at such a level and for such a period of time that the air contamination may become the cause of increased human sickness and mortality;
“air pollution index” means a series of numbers expressing the relative levels of air pollution and taking into consideration one or more air contaminants;
“equipment” includes apparatus, device, mechanism or structure;
“fuel burning equipment” includes equipment designed to burn fuel but does not include an internal combustion engine;
“highway” means highway as defined in subsection 1 (1) of the Highway Traffic Act;
“incinerator” includes equipment used for the burning of waste;
“opacity” means,
(a) the colour of a visible emission in shades of grey to black, or
(b) the degree to which a visible emission obstructs the passage of light;
“point of emission” means the point at which a contaminant enters the natural environment;
“visible emission” means any contaminant which can be detected by the naked eye. R.R.O. 1990, Reg. 346, s. 1.
Application
2. The Act and this Regulation apply to all areas within Ontario. R.R.O. 1990, Reg. 346, s. 2.
3. Revoked: O. Reg. 526/98, s. 1.
Air Pollution Index
4. (1) The Ministry may prepare an index to be known as the “Air Pollution Index” for any area in Ontario, from time to time. R.R.O. 1990, Reg. 346, s. 4 (1).
(2) Where the air pollution index for an area indicates increasing air pollution that may lead to an air pollution episode, the Minister, in consultation with the Minister of Health, may order curtailment of the operation of sources of air pollution in the manner described in subsections (3) and (4). R.R.O. 1990, Reg. 346, s. 4 (2).
(3) Where the air pollution index reaches the number 32, designated as Air Advisory Level, and meteorological forecasts indicate a six-hour prolongation of atmospheric conditions conducive to sustained or increased air pollution levels, the Minister may require owners or operators of sources of air pollution to make preparation for the curtailment of such operations as are specified by the Minister. R.R.O. 1990, Reg. 346, s. 4 (3).
(4) Where the air pollution index reaches the number 50, designated as First Air Pollution Alert, and meteorological forecasts indicate a six-hour prolongation of atmospheric conditions conducive to sustained or increased air pollution levels, the Minister may require owners or operators of sources of air pollution to curtail such operations as are specified by the Minister. R.R.O. 1990, Reg. 346, s. 4 (4).
Control of Air Contaminants
5. (1) The maximum concentration of a contaminant set out in Column 1 of Schedule 1 at a point of impingement from a source of contaminant, other than a motor vehicle, shall not be greater than the concentration set out opposite thereto in Column 3 of Schedule 1, expressed in the unit of concentration set out opposite thereto in Column 2 of Schedule 1. R.R.O. 1990, Reg. 346, s. 5 (1).
(2) The concentration of a contaminant at a point of impingement may be calculated in accordance with the Appendix. R.R.O. 1990, Reg. 346, s. 5 (2).
(3) No person shall cause or permit the concentration of a contaminant at a point of impingement to exceed the standard prescribed in Schedule 1. R.R.O. 1990, Reg. 346, s. 5 (3).
6. No person shall cause or permit to be caused the emission of any air contaminant to such extent or degree as may,
(a) cause discomfort to persons;
(b) cause loss of enjoyment of normal use of property;
(c) interfere with normal conduct of business; or
(d) cause damage to property. R.R.O. 1990, Reg. 346, s. 6.
7. (1) The Ministry shall prepare a chart to be known as the “Visible Emission Chart of the Province of Ontario”. R.R.O. 1990, Reg. 346, s. 7 (1).
(2) The Visible Emission Chart of the Province of Ontario shall consist of two one-inch squares on a white background such that,
(a) the area within the square designated as number 1 shall have black dots or lines evenly spaced such that approximately 20 per cent of the area is black;
(b) the area within the square designated as number 2 shall have black dots or lines evenly spaced such that approximately 40 per cent of the area is black. R.R.O. 1990, Reg. 346, s. 7 (2).
(3) For the purpose of enforcing the Act and this Regulation no person other than a provincial officer who has been trained by the Ministry in the identification of opacity shall determine the opacity of a visible emission. R.R.O. 1990, Reg. 346, s. 7 (3).
8. (1) Subject to subsection (2), no person shall cause or permit to be caused a visible emission,
(a) having shades of grey darker than number 1 on the Visible Emission Chart of the Province of Ontario at the point of emission; or
(b) that obstructs the passage of light to a degree greater than 20 per cent at the point of emission. R.R.O. 1990, Reg. 346, s. 8 (1).
(2) A visible emission from a source of combustion employing solid fuel for a period of not more than four minutes in the aggregate in any thirty-minute period, may,
(a) be in shades of grey darker than number 1, but not darker than number 2 on the Visible Emission Chart of the Province of Ontario at the point of emission; or
(b) obstruct the passage of light to a degree greater than 20 per cent but no greater than 40 per cent at the point of emission. R.R.O. 1990, Reg. 346, s. 8 (2).
9. Where at any stationary source of air pollution a failure to operate in the normal manner or a change in operating conditions occurs, or a shut-down of the source or part thereof is made for some purpose, resulting in the emission of air contaminants that may result in quantities or concentrations in excess of those allowed in sections 5, 6 and 8,
(a) the owner or operator of the source of air pollution shall,
(i) immediately notify a provincial officer and furnish him or her with particulars of such failure, change or shutdown, and
(ii) furnish the provincial officer with the particulars in writing, as soon as is practicable, of such failure, change or shut-down; and
(b) if the provincial officer considers it advisable, the officer may authorize, in writing, the continuance of such operation for such period of time as he or she considers reasonable in the circumstances and may impose upon the owner or operator such terms and conditions for such continued operation as the officer considers necessary in the circumstances. R.R.O. 1990, Reg. 346, s. 9.
10. (1) No person shall burn or permit to be burned in any fuel burning equipment or incinerator any fuel or waste except the fuel or waste for the burning of which the equipment or incinerator was designed. R.R.O. 1990, Reg. 346, s. 10 (1).
(2) No person shall burn or permit to be burned in any fuel burning equipment or incinerator any fuel or waste at a greater rate than that rate for which the equipment or incinerator was designed. R.R.O. 1990, Reg. 346, s. 10 (2).
11. Except for heat, sound, vibration or radiation, no person shall,
(a) construct, alter, demolish, drill, blast, crush or screen anything or cause or permit the construction, alteration, demolition, drilling, blasting, crushing or screening of anything so that a contaminant is carried beyond the limits of the property on which the construction, alteration, demolition, drilling, blasting, crushing or screening is being carried out; or
(b) sandblast or permit the sandblasting of anything so that a contaminant is emitted into the air,
to an extent or degree greater than that which would result if every step necessary to control the emission of the contaminant were implemented. R.R.O. 1990, Reg. 346, s. 11.
12. (1) In this section,
“apartment incinerator” means an incinerator that is located in or on the site of a building containing more than one dwelling unit and used to burn domestic waste from more than one dwelling unit. R.R.O. 1990, Reg. 346, s. 12 (1).
(2) No person shall operate or permit the operation of,
(a) an apartment incinerator, domestic incinerator, multiple chamber incinerator or starved air incinerator burning domestic waste;
(b) a multiple chamber incinerator or starved air incinerator burning solid industrial waste;
(c) an incinerator burning liquid industrial waste, industrial slurries or sludges, sewage sludges or slurries, gaseous waste, organic vapour or fume; or
(d) a municipal incinerator burning solid waste or sludges,
that causes or is likely to cause a concentration in the combustion gases emitted into the natural environment, of organic matter having a carbon content, expressed as equivalent methane, being an average of ten measurements taken at approximately one minute intervals, greater than 100 parts per million by volume, measured on an undiluted basis. R.R.O. 1990, Reg. 346, s. 12 (2).
(3) Subsection (2) does not apply to prohibit the operation of a catalytic incinerator. R.R.O. 1990, Reg. 346, s. 12 (3).
(4) No person shall operate or permit the operation of an apartment incinerator without a certificate of approval issued under section 9 of the Act. R.R.O. 1990, Reg. 346, s. 12 (4).
13. No person shall store, handle or transport any solid liquid or gaseous material or substance in such manner that an air contaminant is released to the atmosphere. R.R.O. 1990, Reg. 346, s. 13.
Appendix
1. In this Appendix, wherever the height of a building or structure is referred to, there shall not be included in calculating such height the height of any flagpole, aerial or stack designed for venting emissions.
2. The concentration of a contaminant at a point of impingement shall be calculated as follows:
(a) where the point of impingement is located on the building or structure or is within five metres horizontally of the building or structure on which the point of emission is located, and,
(i) the height above grade at the point of emission is less than twice the height of the highest part of the building or structure on which the point of emission is located where the highest part of the building or structure is at a height of not more than twenty metres above grade, (see figures 1 and 2)
(ii) the height of the highest part of the building or structure on which the point of emission is located is greater than twenty metres above grade and the point of emission is less than twenty metres above the highest part of the building or structure on which it is located, or (see figure 3)
(iii) there is a building or structure upwind from the point of emission such that,
a. the height above grade of the building or structure is greater than the height above grade at the point of emission, and
b. the building or structure is a horizontal distance of 100 metres or less from the point of emission, (see figures 4 and 5)
the following formula shall be applied:
(see notes 1 and 2)
![]()
Where:
K is the half hour average concentration at the point of impingement in micrograms per cubic metre,
Q is the rate of emission in grams per second of the contaminant,
L is,
(i) where the point of impingement is at the same height or higher above grade than the point of emission, the straight line distance in metres between the point of emission and the point of impingement, or
(ii) where the point of impingement is lower in height above grade than the point of emission, the product of 1.57 and the straight line distance in metres between the point of emission and the point of impingement.
Notes:
1. Where a building or structure adjacent to the building or structure on which the point of emission is located is within five metres of that building or structure, it shall be treated as being part of the building or structure on which the point of emission is located.
2. Where K yields a value greater than the concentration of the contaminant at the point of emission, the concentration of the contaminant at the point of emission shall be deemed to be the value of K.
(b) where the point of impingement is a horizontal distance of five metres or more from the building or structure on which the point of emission is located and,
(i) the height above grade at the point of emission is less than twice the height of the highest part of the building or structure on which the point of emission is located where the highest part of the building or structure is at a height of not more than twenty metres above grade, (see figures 6 and 7)
(ii) the height of the highest part of the building or structure on which the point of emission is located is greater than twenty metres above grade and the point of emission is less than twenty metres above the highest part of the building or structure on which it is located, or (see figure 8)
(iii) there is a building or structure upwind from the point of emission such that,
1. the height above grade of the building or structure is greater than the height above grade at the point of emission, and
2. the building or structure is a horizontal distance of 100 metres or less from the point of emission, (see figures 9 and 10)
the following formula shall be applied:
(see notes 1 and 3)

Where:
K is the half hour average concentration of the contaminant at the point of impingement in micrograms per cubic metre
Q is the rate of emission in grams per second of the contaminant (see note 2)
exp is the exponential function where e = 2.7183
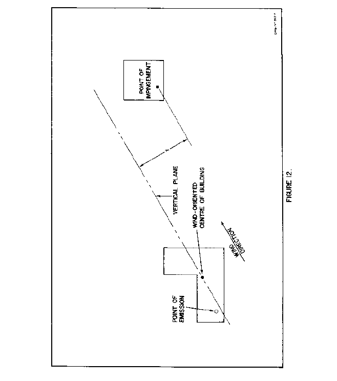
Y is the perpendicular distance in metres between the point of impingement and a vertical plane parallel to the chosen direction of the wind through the wind-oriented centre of the building or structure on which the point of emission is located (see figures 11 and 12)
(see notes 4 and 5)
Z is the difference in height, in metres, between the point of impingement and the ground level at or beneath the point of impingement
H is a function of the height, in metres, above grade of the building or structure on which the point of emission is located
F is a factor related to the atmospheric stability of the air
6y is a function which defines the amount of dispersion of the contaminant in a horizontal direction at the point of impingement
6z is a function which defines the amount of dispersion of the contaminant in a vertical direction at the point of impingement
Determination of K
1. Two values for K shall be determined using the formula in clause (b).
2. The maximum value obtained for K shall be applied in this Regulation.
Value number 1 for K is determined as follows:
H is 0.67 times the height, in metres, above grade of the building or structure on which the point of emission is located
F is 0.6
6y is determined as follows:
where A is the greatest width, in metres, presented to the wind by the building or structure in which
the point of emission is located, measured horizontally and perpendicularly to the direction of the wind
(see figure 13)
where
is equal to or less than 243.45
calculate
= 6.554 ![]()
where
is greater than 243.45
calculate
= 4.524
and calculate
Xy = G +
where G is the horizontal distance, in metres, between the wind-oriented centre of the building or structure on which the point of emission is located and the line where vertical planes, one through the wind-oriented centre of the building or structure on which the point of emission is located and parallel to the chosen direction of the wind, and the other through the point of impingement, meet at right angles.
(see figure 14)
(see note 6)
where the value of Xy is equal to or less than 2500
calculate 6y = 0.176 Xy0.92445
where the value of Xy is greater than 2500
calculate 6y = 0.268 Xy0.87248
6z is determined as follows:
where B is the height above ground in metres of the highest part of the building or structure on
which the point of emission is located
where
is equal to or less than 141.41
calculate
= 12.027 ![]()
where
is greater than 141.41
calculate
= 10.418 ![]()
and calculate Xz = G +
where G has the same value for G as used in the equation
Xy = G +![]()
Where the value of Xz is equal to or less than 2500
calculate 6z = 0.106 Xz0.91926
where Xz is greater than 2500
calculate 6z = 0.120 Xz0.90564
Value number 2 for K is determined as follows:
Where:
H is 0.67 times the height in metres above grade of the building or structure on which the point of emission is located
F is 0.8
6y is determined as follows:
where
has the same value as
determined for value number 1 for K
where
is equal to or less than 49.01
calculate
= 10.686 ![]()
where
is greater than 49.01 and less than 409.32
calculate
= 10.020 ![]()
where
is equal to or greater than 409.32
calculate
= 6.760 ![]()
and calculate
Xy = G +
where G has the same value for G determined for value number 1 for K
where the value of Xy is equal to or less than 700
calculate 6y = 0.110 Xy0.93062
where Xy is greater than 700 and less than 7000
calculate 6y = 0.120 Xy0.91837
where Xy is equal to or greater than 7000
calculate 6y = 0.191 Xy0.86538
6z is determined as follows:
where B is the vertical height above grade of the highest part of the building or structure on which
the point of emission is located
where
is equal to or less than 24.64
calculate
=16.524 ![]()
where
is greater than 24.64 and less than 110.75
calculate
= 4.984 ![]()
where
is equal to or greater than 110.75
calculate
= 1.090 ![]()
and calculate
Xz = G +
where G has the same value for G determined for value number 1 for K
where Xz is equal to or less than 700
calculate 6z = 0.091 Xz0.8553
where Xz is greater than 700 and less than 7000
calculate 6z = 0.352 Xz0.6495
where Xz is equal to or greater than 7000
calculate 6z = 0.955 Xz0.53857
Notes:
1. Where a building or structure adjacent to the building or structure on which the point of emission is located is within five metres of that building or structure, it shall be treated as being part of the building or structure on which the point of emission is located.
2. Where a situation exists as described in subclauses (i), (ii) and (iii) of clause (b) all points of emission of a contaminant shall be considered as if the total emission comes from the building such that the building itself is a point of emission.
3. Where K yields a value greater than the concentration of the contaminant at the point of emission, the concentration of the contaminant at the point of emission shall be deemed to be the value of K.
4. The wind-oriented centre of a building or structure is obtained by circumscribing the plan view of the building or structure with the smallest possible rectangle, two sides of which are parallel to the chosen wind direction, and the intersection of the diagonals of this rectangle is the wind-oriented centre. (see figure 11)
5. Where an emission or emissions is from only one building or structure, the wind direction shall be that direction that is parallel to a line joining the wind-oriented centre of the building or structure and the point of impingement and the value of the exponential expression involving Y is one. (In such a situation the value of Y becomes zero)
6. Where emissions from only one building or structure are being evaluated the wind direction shall be so chosen that the value of G is the horizontal distance in metres between the point of impingement and a vertical line through the wind-oriented centre of the building or structure on which the point of emission is located. (see figure 15)
(c) where the point of emission is not affected by any of the conditions described in subclause (i), (ii) or (iii) of clause (a) or subclause (i), (ii) or (iii) of clause (b), the following formula shall be applied:
(see figures 16, 17, 18 and 19)

Where:
K is the half hour average concentration of the contaminant at the point of impingement in micrograms per cubic metre
Q is the rate of emission in grams per second of the contaminant
U is the wind speed in metres per second
exp is the exponential function where e = 2.7183
Y is the straight line distance in metres between the point of impingement and a vertical plane through the point of emission in the chosen direction of the wind
(see figure 20)
(see note 3)
Z is the difference in height, in metres, between the point of impingement and the ground level at or beneath the point of impingement
H is the effective height of the emission of a contaminant
F is a factor related to the atmospheric stability of the air
6y is a function which defines the amount of dispersion of the contaminant in a horizontal direction at the point of impingement
6z is a function which defines the amount of dispersion of the contaminant in a vertical direction at the point of impingement
Determination of K
1. Two values for K shall be determined using the formula in clause (c).
2. The maximum value obtained for K shall be applied in this Regulation. (see note 1)
Value number 1 for K is determined as follows:
Where:
U is the speed of the wind in metres per second (see note 2)
H is determined as follows:
![]()
Where:
h is the height above grade, in metres, of the point of emission
vs is the speed in metres per second in an upward vertical direction of the contaminant gas stream at the point of emission to the atmosphere (see note 4)
d is the diameter in metres of a circle of equivalent area to that area through which the contaminant gas stream enters the air
u is the speed of the wind in metres per second (see note 5)
Ts is the temperature in degrees Kelvin (273° + temperature in Degrees Celsius) of the contaminant gas stream at the point of emission
F is 0.6
6y is determined as follows:
Calculate X where X is the horizontal distance in metres between the point of emission and the line where vertical planes, one through the point of emission and parallel to the chosen direction of the wind and the other through the point of impingement, meet at right angles.
(see figure 21)
(see notes 6 and 7)
Where the value of X is equal to or less than 2500
6y = 0.176 X0.92445
When the value of X is greater than 2500
6y = 0.268 X0.87248
6z is determined as follows:
When the value of X is determined in the calculation of
is equal to or less than 2500
6z = 0.106 X0.91926
When the value of X is greater than 2500
6z = 0.120 X0.90564
(see note 8)
Value number 2 for K is determined as follows:
H has the same value for H as determined for value number 1 for K
F is 0.8
6y is determined as follows:
Where X has the same value for X as determined for value number 1 for K
Where the value of X is equal to or less than 700
6y = 0.110 X0.93062
Where the value of X is greater than 700 but less than 7000
6y = 0.120 X0.91837
Where the value of X is equal to or greater than 7000
6y = 0.191 X0.86538
6z is determined as follows:
Where X has the same value as determined in the calculation of 6y
Where X is equal to or less than 700
6z = 0.091 X0.8553
Where X is greater than 700 but less than 7000
6z = 0.352 X0.6495
Where X is equal to or greater than 7000
6z = 0.955 X0.53857
(see note 8)
Notes:
1. Where K yields a value greater than the concentration of the contaminant at the point of emission, the concentration of the contaminant at the point of emission shall be deemed to be the value of K.
2. The wind speed shall have a minimum value of 2.235 metres per second and a maximum value of 18.235 metres per second. A value of K shall be determined for wind speed increments of 0.5 metres per second until a maximum value of K is found.
3. Where only a single point of emission is being evaluated the wind direction shall be so chosen that the value of Y becomes zero (therefore the value of exp expression containing Y becomes equal to one).
4. Where the value of vs is less than 7 metres per second the value of vs shall be zero.
5. The value for u shall be consistent with the values substituted directly for u in the equation used for evaluating K.
6. Where a single source of emission is being evaluated, the wind direction shall be so chosen that the value of X shall be the horizontal distance in metres between the point of impingement and a vertical line through the point of emission. (see figure 22)
7. In the calculation of K at ground level, the value of X shall be so chosen that the maximum value of K is found.
8. For each point of impingement, for each wind direction chosen, and for each value of X, U shall be varied until the maximum value of K is found.
(d) where the emissions of a contaminant are from more than one source, the contaminant concentrations at the point of impingement, resulting from each individual source, for the conditions set out in clauses (a), (b) and (c) shall be added together to give an aggregate value for K.
The aggregate value of K shall be determined for all wind directions and all permissible wind speeds for value of K, where applicable. The largest aggregate K obtained shall be the value of K to apply in this Regulation.






















R.R.O. 1990, Reg. 346, Appendix.
SCHEDULE 1
Item |
Column 1 |
Column 2 |
Column 3 |
Name of Contaminant |
Unit of Concentration |
Concentration at Point of Impingement — Half Hour Average | |
1. |
Acetic Acid |
Micrograms of acetic acid per cubic metre of air |
2,500 |
2. |
Acetylene |
Micrograms of acetylene per cubic metre of air |
56,000 |
3. |
Acetone |
Micrograms of acetone per cubic metre of air |
48,000 |
4. |
Acrylamide |
Micrograms of acrylamide per cubic metre of air |
45 |
4.1 |
Acrylonitrile |
Micrograms of acrylonitrile per cubic metre of air |
180 |
5. |
Ammonia |
Micrograms of ammonia per cubic metre of air |
3,600 |
6. |
Antimony |
Total micrograms of antimony in free and combined form per cubic metre of air |
75 |
7. |
Arsine |
Micrograms of arsine per cubic metre of air |
10 |
8. |
Beryllium |
Total micrograms of beryllium in free and combined form per cubic metre of air |
0.03 |
9. |
Boron Tribromide |
Micrograms of boron tribromide per cubic metre of air |
100 |
10. |
Boron Trichloride |
Micrograms of boron trichloride per cubic metre of air |
100 |
11. |
Boron Trifluoride |
Micrograms of boron trifluoride per cubic metre of air |
5.0 |
12. |
Boron |
Total micrograms of boron in free and combined form per cubic metre of air |
100 |
13. |
Bromine |
Micrograms of bromine per cubic metre of air |
70 |
14. |
Cadmium |
Total micrograms of cadmium in free and combined form per cubic metre of air |
5.0 |
15. |
Calcium hydroxide |
Micrograms of calcium hydroxide per cubic metre of air |
27 |
16. |
Calcium Oxide |
Micrograms of calcium oxide per cubic metre of air |
20 |
17. |
Carbon Black |
Micrograms of carbon black per cubic metre of air |
25 |
18. |
Carbon Disulphide |
Micrograms of carbon disulphide per cubic metre of air |
330 |
19. |
Carbon Monoxide |
Micrograms of carbon monoxide per cubic metre of air |
6,000 |
20. |
Chlorine |
Micrograms of chlorine per cubic metre of air |
300 |
21. |
Chlorine Dioxide |
Micrograms of chlorine dioxide per cubic metre of air |
85 |
21.1 |
Chloroform |
Micrograms of chloroform per cubic metre of air |
300 |
22. |
Copper |
Total micrograms of copper in free and combined form per cubic metre of air |
100 |
23. |
Cresols |
Micrograms of cresols per cubic metre of air |
230 |
24. |
Decaborane |
Micrograms of decaborane per cubic metre of air |
50 |
25. |
Diborane |
Micrograms of diborane per cubic metre of air |
20 |
26. |
Dicapryl Phthalate |
Micrograms of dicapryl phthalate per cubic metre of air |
100 |
27. |
Dimethyl Disulphide |
Micrograms of dimethyl disulphide per cubic metre of air |
40 |
28. |
Dimethyl Sulphide |
Micrograms of dimethyl sulphide per cubic metre of air |
30 |
29. |
Dioctyl Phthalate |
Micrograms of dioctyl phthalate per cubic metre of air |
100 |
30. |
Dustfall |
Micrograms per square metre |
8,000 |
31. |
Ethyl Acetate |
Micrograms of ethyl acetate per cubic metre of air |
19,000 |
32. |
Ethyl Acrylate |
Micrograms of ethyl acrylate per cubic metre of air |
4.5 |
33. |
Ethyl Benzene |
Micrograms of ethyl benzene per cubic metre of air |
3,000 |
33.1 |
Ethyl Ether |
Micrograms of ethyl ether per cubic metre of air |
7,000 |
34. |
Ferric Oxide |
Micrograms of ferric oxide per cubic metre of air |
75 |
35. |
Fluorides, (Gaseous) (April 15 to October 15) |
Micrograms of gaseous, inorganic fluoride per cubic metre of air expressed as hydrogen fluoride |
|
36. |
Fluorides, (Total) (April 15 to October 15) |
Total micrograms of inorganic fluoride per cubic metre of air expressed as hydrogen fluoride |
|
37. |
Fluorides, (Total) (October 16 to April 14) |
Total micrograms of inorganic fluoride per cubic metre of air expressed as hydrogen fluoride |
|
38. |
Formaldehyde |
Micrograms of formaldehyde per cubic metre of air |
65 |
39. |
Formic Acid |
Micrograms of formic acid per cubic metre of air |
1,500 |
40. |
Furfural |
Micrograms of furfural per cubic metre of air |
1,000 |
41. |
Furfuryl Alcohol |
Micrograms of furfuryl alcohol per cubic metre of air |
3,000 |
41.1 |
n-Heptane |
Micrograms of n-heptane per cubic metre of air |
33,000 |
42. |
Hydrogen Chloride |
Micrograms of hydrogen chloride per cubic metre of air |
100 |
43. |
Hydrogen Cyanide |
Micrograms of hydrogen cyanide per cubic metre of air |
1,150 |
44. |
Hydrogen Sulphide |
Micrograms of hydrogen sulphide per cubic metre of air |
30 |
45. |
Iron (metallic) |
Micrograms of metallic iron per cubic metre of air |
10 |
45.1 |
Isopropyl Benzene |
Micrograms of isopropyl benzene per cubic metre of air |
100 |
46. |
Lead |
Total micrograms of lead in free and combined form per cubic metre of air |
6 |
47. |
Lithium Hydrides |
Total micrograms of lithium hydrides per cubic metre of air |
7.5 |
48. |
Lithium |
Total micrograms of lithium in other than hydride compounds per cubic metre of air |
60 |
49. |
Magnesium Oxide |
Total micrograms of magnesium oxide per cubic metre of air |
100 |
50. |
Mercaptans |
Total micrograms of mercaptans per cubic metre of air expressed as methyl mercaptans |
20 |
51. |
Mercury (alkyl) |
Total micrograms of alkyl mercury compounds per cubic metre of air |
1.5 |
52. |
Mercury |
Total micrograms of mercury in free and combined form per cubic metre of air |
5.0 |
53. |
Methyl Acrylate |
Micrograms of methyl acrylate per cubic metre of air |
4.0 |
54. |
Methyl Alcohol (Methanol) |
Micrograms of methyl alcohol per cubic metre of air |
12,000 |
55. |
Methyl Chloroform (1-1-1 Trichloroethane) |
Micrograms of methyl chloroform per cubic metre of air |
350,000 |
56. |
Methyl Ethyl Ketone (2-Butanone) |
Micrograms of methyl ethyl ketone per cubic metre of air |
30,000 |
56.1 |
Methyl Isobutyl Ketone |
Micrograms of methyl isobutyl ketone per cubic metre of air |
1,200 |
57. |
Methyl Methacrylate |
Micrograms of methyl methacrylate per cubic metre of air |
860 |
58. |
Milk Powder |
Micrograms of milk powder per cubic metre of air |
20 |
58.1 |
Mineral Spirits |
Micrograms of mineral spirits per cubic metre of air |
7,800 |
59. |
Monomethyl Amine |
Micrograms of monomethyl amine per cubic metre of air |
25 |
60. |
Nickel |
Total micrograms of nickel in free and combined form per cubic metre of air |
5 |
61. |
Nickel Carbonyl |
Micrograms of nickel carbonyl per cubic metre of air |
1.5 |
62. |
Nitric Acid |
Micrograms of nitric acid per cubic metre of air |
100 |
63. |
Nitrilotriacetic Acid |
Micrograms of nitrilotriacetic acid per cubic metre of air |
100 |
64. |
Nitrogen Oxides |
Micrograms of nitrogen oxides per cubic metre of air expressed as NO2 |
500 |
65. |
Ozone |
Micrograms of ozone per cubic metre of air |
200 |
66. |
Pentaborane |
Micrograms of pentaborane per cubic metre of air |
3.0 |
67. |
Phenol |
Micrograms of phenol per cubic metre of air |
100 |
68. |
Phosgene |
Micrograms of phosgene per cubic metre of air |
130 |
69. |
Phosphoric Acids |
Micrograms of phosphoric acids per cubic metre of air expressed as P2O5 |
100 |
70. |
Phthalic Anhydride |
Micrograms of phthalic anhydride per cubic metre of air |
100 |
71. |
Propylene Dichloride |
Micrograms of propylene dichloride per cubic metre of air |
2,400 |
71.1 |
Propylene Oxide |
Micrograms of propylene oxide per cubic metre of air |
450 |
72. |
Silver |
Total micrograms of silver in free and combined form per cubic metre of air |
3 |
73. |
Styrene |
Micrograms of styrene per cubic metre of air |
400 |
74. |
Sulphur Dioxide |
Micrograms of sulphur dioxide per cubic metre of air |
830 |
75. |
Sulphuric Acid |
Micrograms of sulphuric acid per cubic metre of air |
100 |
76. |
Suspended Particulate Matter (particulate less than 44 microns in size) |
Total micrograms of suspended particulate matter per cubic metre of air |
100 |
77. |
Tellurium (except hydrogen telluride) |
Micrograms of tellurium in free and combined form per cubic metre of air |
30 |
78. |
Tetrahydrofuran |
Micrograms of tetrahydrofuran per cubic metre of air |
93,000 |
79. |
Tin |
Total micrograms of tin in free and combined form per cubic metre of air |
30 |
80. |
Titanium |
Total micrograms of titanium in free and combined form per cubic metre of air |
100 |
81. |
Toluene |
Micrograms of toluene per cubic metre of air |
2,000 |
82. |
Toluene Di-isocyanate |
Micrograms of toluene di-isocyanate per cubic metre of air |
1.0 |
83. |
Trichloroethylene |
Micrograms of trichloroethylene per cubic metre of air |
3,500 |
84. |
Trifluorotrichloro Ethane |
Micrograms of trifluoro trichloroethane per cubic metre of air |
2.4 million |
85. |
Vanadium |
Total micrograms of vanadium in free and combined form per cubic metre of air |
5.0 |
85.1 |
Vinylidene Chloride |
Micrograms of vinylidene chloride per cubic metre of air |
30 |
86. |
Xylenes |
Micrograms of xylenes per cubic metre of air |
2,300 |
87. |
Zinc |
Total micrograms of zinc in free and combined form per cubic metre of air |
100 |
R.R.O. 1990, Reg. 346, Sched.; O. Reg. 795/94, s. 1; O. Reg. 342/01, s. 1.